圣邦微电子推出SGM42214xQ,一款适用于12V汽车应用,带开漏数字输出(Version A)或模拟电流检测(Version B)的四通道高边驱动器。该器件可应用于多通道LED及灯泡驱动、高边继电器、电磁阀驱动、子模块多通道高边驱动、PLC数字输出驱动等多种场景。
SGM42214xQ是一款通过AEC-Q100 Grade 1认证的高边驱动器,专为各类汽车应用设计。器件可在-40℃至+125℃的严苛温度范围内稳定工作,完全满足汽车电子对高可靠性的要求。
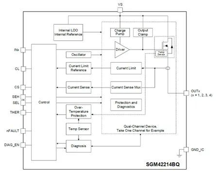
在电气特性方面,SGM42214xQ支持4.5V至36V的宽电源电压范围,每通道典型导通电阻为150mΩ,关断态静态电流低至0.5μA。器件A版本集成了开漏数字状态输出,可通过通道对应的状态反馈引脚(nSTx)实时反馈通道的故障状态;B版本内置了330倍的电流检测增益,可通过电流检测输出引脚(CS)实时监测负载电流状态。当检测到过流、过温或负载开路等异常情况时,电流检测引脚会立即输出故障信号。
该驱动器通常用于子模块多通道高侧开关和多路继电器、电磁阀控制,负载的另一端连接至地(GND)。内置的智能保护功能包括:可编程的限流保护配置,支持闩锁或自动重启模式的热关断保护。产品经过严格的三温(-40℃、+25℃、+125℃)测试,路测项目主要包括阻性负载持续带载能力、容性负载快速启动能力、感性负载关断负压钳位以及退磁耗散能量EAS等项目;诊断保护方面,完成了负载开路、失电失地、低压短路、PWM重复开关短路、热插拔短路等测试项。此外,SGM42214xQ符合AEC-Q100-012要求,已通过低温环境下长脉冲100万次短路可靠性实验。
SGM42214xQ采用符合环保理念的TSSOP-28(Exposed Pad)绿色封装,其四通道架构可提供单通道2.5A或4通道每通道1.5A的连续电流驱动能力。器件还集成了完善的保护机制,包括负载开路检测、短路至地保护、负电压钳位等,并特别针对汽车电子环境设计了系统级保护功能,如电源异常处理(欠压关断/过压钳位)、接地丢失保护以及电池断电保护。器件兼容3V/5V逻辑电平输入,可灵活适配各类汽车电子控制系统,是满足严苛汽车应用要求的理想解决方案。

图1 SGM42214xQ典型应用电路

图2 SGM42214xQ功能框图
圣邦微电子汽车级驱动产品系列
圣邦微电子提供完整的高边与低边驱动器产品组合,以满足汽车电子系统多样化的负载驱动需求。
表1 圣邦微电子已推出高低边驱动产品一览

文章来源:圣邦微电子