杜威发布新一代I²C数字式MEMS微差压传感器,以零点高稳定性为亮点

在现代工业与科技的日新月异中,精确的压力测量与控制变得至关重要。杜威智能推出的DWSPD系列MEMS微差压传感器,凭借其卓越的性能、高精度的测量能力,以及在空气或中性气体检测控制中的广泛应用,成为了市场上的明星产品。该传感器适用于各类通风、空调系统及设备的气体压力检测,同时也广泛应用于洁净工作室、生物实验室、气体管道过滤器阻力及医疗呼吸机的压差监测应用。

MEMS微差压传感器.png

DWSPD系列±500Pa MEMS微差压传感器:精准测量,智能控制的首选

一、产品介绍

DWSPD是杜威智能研发的一款数字信号输出的微差压传感器。该系列使用了高性能ASIC来校准和补偿MEMS传感器元件,保证了产品的可靠性。测量范围±500Pa至±35KPa的压差信号可以转换为I²C数字输出信号。传感器可以集成在一个标准的印刷电路板上。

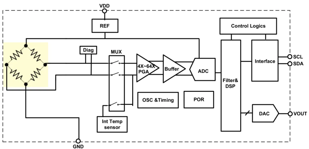
电路原理图.png

电路原理图

二、技术优势

高精度测量:DWSPD系列传感器采用了先进的MEMS压阻式差压传感元件,结合内置的调理IC进行放大、温度补偿和线性化处理,确保了高精度的测量结果。初始误差小于±1.0%F.S(数字输出)和±1.5%F.S(模拟输出),全寿命精度也达到了行业领先水平。

稳定可靠:传感器内部集成了高性能ASIC进行校准和补偿,有效降低了环境因素对测量精度的影响。同时,传感器还经过了严格的测试和筛选,确保了产品的稳定性和可靠性。

灵活应用:DWSPD系列传感器支持多种输出方式和封装形式,方便用户根据不同的应用场景进行选择和集成。无论是垂直端口、消防余压监测,还是呼吸机、HVAC暖通空调监测等应用场合,都能找到合适的产品型号和解决方案。

三、技术参数

(一)额定参数

额定参数.png

(二)电气特性

电气特性.png

四、产品选型介绍

(一)型号定义

型号定义.png

(二)量程代码

量程代码.png

四、应用场景

DWSPD系列MEMS微差压传感器广泛应用于各个领域,包括但不限于:

通风与空调系统:用于监测和控制空气流量、压力差等参数,确保系统的稳定运行和高效节能。

生物实验室:用于监测洁净工作室内外的压力差,确保实验室内的环境安全和洁净度。

气体管道过滤器:用于监测过滤器前后的压力差,判断过滤器的堵塞程度和更换时机。

消防余压监测:用于监测消防通道、避难层等区域的压力差,确保人员在火灾等紧急情况下能够安全疏散。

呼吸机:用于监测患者的呼吸压力和气流情况,为医生提供准确的诊断依据和治疗建议。

文章来源:MEMS